一種 SAW RFID 閱讀器的信號處理電路設計
作者:安徽大學 于歡 李民權 鄒金春
來源:電子技術
日期:2009-09-09 08:46:46
摘要:本文介紹了SAW RFID閱讀器的信號處理電路設計與軟件設計過程,通過實驗表明,采用FIFO作為ADC與MCU之間的橋梁,起到很好的數據緩沖作用,降低了對MCU性能的要求,基于C8051F131設計的RFID閱讀器的信號處理電路,具有結構簡單,成本低,容易實現等特點。
0 引言
RFID(Radio Frequency Identification)技術由于優秀的識別性能而被認為是二十一世紀最有應用潛力的十大技術之一,它可以應用到工業生產、國防軍事、日常生活等社會的各個方面。在我國,倡導科技奧運的北京奧運會在門票、地鐵、食品安全管理中已被試用。基于SAW(Surface Acoustic Wave)標簽的RFID系統采用了先進微電子加工技術制造的SAW器件,具有體積小、重量輕、批量成本低、可靠性高、識別距離遠、多功能等優點,與基于IC標簽的RFID系統有很好的互補性,尤其在基于IC標簽的RFID系統應用于帶有金屬物體、高溫、強電磁干擾等惡劣環境無能為力時,基于SAW標簽的RFID系統就顯示了它的優越性,同時SAW標簽也適甩干壓力、加速度、溫度等參數的測量,此技術在歐美已得到一定的應用。在我國,此方面的研究近幾年才開始展開,技術還不夠成熟。本文將介紹一種SAW RFID閱讀器的信號處理電路設計及其軟件設計。
1 閱讀器的系統分析
閱讀器采用模塊化設計,最基本單元的為射頻電路與信號處理電路。如圖1所示,射頻系統包括發射電路與接收電路,信號處理電路包括信號處理單元與外圍電路。根據功能需求, 增加相應的電路,包括有通信電路、顯示電路、存儲電路、時鐘電路等外圍電路。
閱讀器工作開始后信號處理電路產生一段脈寬為40ns脈沖控制信號,送給發射電路,經過發射電路一系列調制處理,轉換成脈寬是40ns,載頻是915MHz的射頻詢問信號,通過天線發射出去。遇到SAW標簽后,標簽反射回帶有標簽信息的射頻回波信號,閱讀器接收時經過接收電路一系列處理,解調出代表標簽信息的回波包絡信號,回波包絡信號是具有24位,脈寬40ns的脈沖回波,每個回波的延遲時間約為115ns。之后送給信號處理電路進行進一步的識別和處理,完成識別標簽的信息。
2 信號處理電路設計
信號處理電路主要負責閱讀器的系統控制與信號處理任務。包括:發射時,控制射頻開關截取40ns脈沖信號;接收時,數字采集經過射頻接收電路解調的回波信號,將回波信號轉化為標簽編碼數據進一步處理。其中回波信號的每個脈沖的脈寬為40ns,每個脈沖信號延遲時間為115ns,帶寬則為
接收處理過程就是高速數據采集過程。分析指標要求,信號處理電路設計的關鍵點如下:
(1)產生高速控制信號控制發射端的射頻開關在40ns開與斷。
(2)模擬信號到數字信號的轉換速度。
(3)經過高速模數轉換后,采樣速率很快,信號處理器接收數據的速度必須匹配ADC(Analog To DigitalConverter)的轉換速度。
對于關鍵點(1),選擇高速處理器,通過軟件編程實現40ns響應時間的高速控制信號。
對于關鍵點(2),模擬信號的最高頻率達到
根據奈奎斯特采樣定律,采樣頻率要在64MHz以上,本系統采用采樣頻率為80MHz的高速ADC。
對于關鍵點(3),ADC采樣速率很高,達到80MHz,處理器無法直接接收處理如此龐大的采樣數據。所以需要數據緩沖,這里選用FIFO(First Input First Output)實現數據緩存功能。
2.1 系統結構與器件選擇
為了使系統結構簡單,我們選用一種高性能的MCU(Micro Controller Unit)作為系統的信號處理核心。如圖2所示,信號處理電路由MCU、ADC、FIFO、以及其他外圍電路組成。
FIFO的選擇:FIFO接收存儲來自ADC高速輸出的數字信號,還要將數據輸出給MCU,這對FIFO的存取速度由很高的要求,這里選用IDT公司的SUPERSYNC II系列FIFOIDT72V223,最高166MHz操作時鐘,容量1024x9 bit,具有可編程性,選用異步模式。
MCU的選擇:通過軟件編程實現40ns的脈沖控制信號,接收時實現高速的數據采集,RFID系統要求高速工作速度,這里選用性能優秀C8051F131。C8051F是完全集成的混合信號系統級芯片,它的CIP-51內核采用流水線結構,在同頻率下是標準8051指令執行速度的12倍,C8051F131最高支持100MHz的時鐘頻率,處理速度也可達到100MIPS,32個I/0,128K Flash,8448字節內部RAM,可尋址64KB的片上外部RAM。
時鐘的選擇:ADC與FIFO的工作狀態由MCU控制。鐘振提供ADC采樣時鐘與FIFO寫時鐘,ADC采樣時鐘與FIFO寫時鐘只有同步數據才能不丟失,通過查詢器件的數據資料,ADC轉換速度與FIFO的存取速度可以實現銜接,可共用鐘振。FIFO的讀時鐘與控制由MCU產生。
2.2 硬件電路設計
根據系統結構與器件的數據資料,部分電路設計如下:
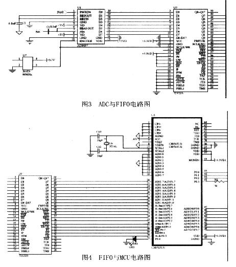
(1)AD9057的電路設計:將射頻接收電路輸出端接入AD9057輸入端:AD9057的8位數字信號輸出端與IDT72V223的低8位輸入端連接;使用C8051F13l控制AD9057的PWRDN端,控制AD9057的工作狀態。
(2)IDT72V223的電路設計:在IDT72V223主復位過程中,對相應引腳置位可確定其工作模式。選用異步、標準IDT工作模式;數據輸入由WCLK和WEN控制,輸入時鐘與輸出時鐘完全獨立;只要REN和WEN使能,就可以讀寫數據;OE為低,表示允許輸出端輸出;此外,IDT72V223也提供了豐富的狀態信號,將IDT72V223低8位輸出端連接C8051F131的I/O口。
(3)通信電路、顯示電路、時鐘電路、電源電路等其它電路的設計,按照器件數據資料的要求完成電路連接。
利用Protel DXP繪制電路圖與PCB版圖,部分電路如圖3和圖4所示。完善器件布局,仿真電路與電氣檢查,完成加工制作。
系統軟件流程如圖5所示,系統開始工作,通過MCU初始化ADC與FIFO的工作狀態,產生40ns脈沖詢問信號控制射頻開關,經過1us識別標簽的傳播延遲,MCU控制ADC采樣與FIFO的寫操作,待模數轉換完成后,將FIFO數據寫入MCU,并與參考閾值比較,從而確定回波信號的編碼信息,最后通過串口上傳至上位機及顯示,實現進一步處理。
4 結論
本文介紹了SAW RFID閱讀器的信號處理電路設計與軟件設計過程,通過實驗表明,采用FIFO作為ADC與MCU之間的橋梁,起到很好的數據緩沖作用,降低了對MCU性能的要求,基于C8051F131設計的RFID閱讀器的信號處理電路,具有結構簡單,成本低,容易實現等特點。
RFID(Radio Frequency Identification)技術由于優秀的識別性能而被認為是二十一世紀最有應用潛力的十大技術之一,它可以應用到工業生產、國防軍事、日常生活等社會的各個方面。在我國,倡導科技奧運的北京奧運會在門票、地鐵、食品安全管理中已被試用。基于SAW(Surface Acoustic Wave)標簽的RFID系統采用了先進微電子加工技術制造的SAW器件,具有體積小、重量輕、批量成本低、可靠性高、識別距離遠、多功能等優點,與基于IC標簽的RFID系統有很好的互補性,尤其在基于IC標簽的RFID系統應用于帶有金屬物體、高溫、強電磁干擾等惡劣環境無能為力時,基于SAW標簽的RFID系統就顯示了它的優越性,同時SAW標簽也適甩干壓力、加速度、溫度等參數的測量,此技術在歐美已得到一定的應用。在我國,此方面的研究近幾年才開始展開,技術還不夠成熟。本文將介紹一種SAW RFID閱讀器的信號處理電路設計及其軟件設計。
1 閱讀器的系統分析
閱讀器采用模塊化設計,最基本單元的為射頻電路與信號處理電路。如圖1所示,射頻系統包括發射電路與接收電路,信號處理電路包括信號處理單元與外圍電路。根據功能需求, 增加相應的電路,包括有通信電路、顯示電路、存儲電路、時鐘電路等外圍電路。

閱讀器工作開始后信號處理電路產生一段脈寬為40ns脈沖控制信號,送給發射電路,經過發射電路一系列調制處理,轉換成脈寬是40ns,載頻是915MHz的射頻詢問信號,通過天線發射出去。遇到SAW標簽后,標簽反射回帶有標簽信息的射頻回波信號,閱讀器接收時經過接收電路一系列處理,解調出代表標簽信息的回波包絡信號,回波包絡信號是具有24位,脈寬40ns的脈沖回波,每個回波的延遲時間約為115ns。之后送給信號處理電路進行進一步的識別和處理,完成識別標簽的信息。
2 信號處理電路設計
信號處理電路主要負責閱讀器的系統控制與信號處理任務。包括:發射時,控制射頻開關截取40ns脈沖信號;接收時,數字采集經過射頻接收電路解調的回波信號,將回波信號轉化為標簽編碼數據進一步處理。其中回波信號的每個脈沖的脈寬為40ns,每個脈沖信號延遲時間為115ns,帶寬則為
接收處理過程就是高速數據采集過程。分析指標要求,信號處理電路設計的關鍵點如下: (1)產生高速控制信號控制發射端的射頻開關在40ns開與斷。
(2)模擬信號到數字信號的轉換速度。
(3)經過高速模數轉換后,采樣速率很快,信號處理器接收數據的速度必須匹配ADC(Analog To DigitalConverter)的轉換速度。
對于關鍵點(1),選擇高速處理器,通過軟件編程實現40ns響應時間的高速控制信號。
對于關鍵點(2),模擬信號的最高頻率達到
根據奈奎斯特采樣定律,采樣頻率要在64MHz以上,本系統采用采樣頻率為80MHz的高速ADC。
對于關鍵點(3),ADC采樣速率很高,達到80MHz,處理器無法直接接收處理如此龐大的采樣數據。所以需要數據緩沖,這里選用FIFO(First Input First Output)實現數據緩存功能。
2.1 系統結構與器件選擇
為了使系統結構簡單,我們選用一種高性能的MCU(Micro Controller Unit)作為系統的信號處理核心。如圖2所示,信號處理電路由MCU、ADC、FIFO、以及其他外圍電路組成。

FIFO的選擇:FIFO接收存儲來自ADC高速輸出的數字信號,還要將數據輸出給MCU,這對FIFO的存取速度由很高的要求,這里選用IDT公司的SUPERSYNC II系列FIFOIDT72V223,最高166MHz操作時鐘,容量1024x9 bit,具有可編程性,選用異步模式。
MCU的選擇:通過軟件編程實現40ns的脈沖控制信號,接收時實現高速的數據采集,RFID系統要求高速工作速度,這里選用性能優秀C8051F131。C8051F是完全集成的混合信號系統級芯片,它的CIP-51內核采用流水線結構,在同頻率下是標準8051指令執行速度的12倍,C8051F131最高支持100MHz的時鐘頻率,處理速度也可達到100MIPS,32個I/0,128K Flash,8448字節內部RAM,可尋址64KB的片上外部RAM。
時鐘的選擇:ADC與FIFO的工作狀態由MCU控制。鐘振提供ADC采樣時鐘與FIFO寫時鐘,ADC采樣時鐘與FIFO寫時鐘只有同步數據才能不丟失,通過查詢器件的數據資料,ADC轉換速度與FIFO的存取速度可以實現銜接,可共用鐘振。FIFO的讀時鐘與控制由MCU產生。
2.2 硬件電路設計
根據系統結構與器件的數據資料,部分電路設計如下:
(1)AD9057的電路設計:將射頻接收電路輸出端接入AD9057輸入端:AD9057的8位數字信號輸出端與IDT72V223的低8位輸入端連接;使用C8051F13l控制AD9057的PWRDN端,控制AD9057的工作狀態。
(2)IDT72V223的電路設計:在IDT72V223主復位過程中,對相應引腳置位可確定其工作模式。選用異步、標準IDT工作模式;數據輸入由WCLK和WEN控制,輸入時鐘與輸出時鐘完全獨立;只要REN和WEN使能,就可以讀寫數據;OE為低,表示允許輸出端輸出;此外,IDT72V223也提供了豐富的狀態信號,將IDT72V223低8位輸出端連接C8051F131的I/O口。
(3)通信電路、顯示電路、時鐘電路、電源電路等其它電路的設計,按照器件數據資料的要求完成電路連接。
利用Protel DXP繪制電路圖與PCB版圖,部分電路如圖3和圖4所示。完善器件布局,仿真電路與電氣檢查,完成加工制作。

系統軟件流程如圖5所示,系統開始工作,通過MCU初始化ADC與FIFO的工作狀態,產生40ns脈沖詢問信號控制射頻開關,經過1us識別標簽的傳播延遲,MCU控制ADC采樣與FIFO的寫操作,待模數轉換完成后,將FIFO數據寫入MCU,并與參考閾值比較,從而確定回波信號的編碼信息,最后通過串口上傳至上位機及顯示,實現進一步處理。

4 結論
本文介紹了SAW RFID閱讀器的信號處理電路設計與軟件設計過程,通過實驗表明,采用FIFO作為ADC與MCU之間的橋梁,起到很好的數據緩沖作用,降低了對MCU性能的要求,基于C8051F131設計的RFID閱讀器的信號處理電路,具有結構簡單,成本低,容易實現等特點。