無線通訊OFDM調制的實現
OFDM是現代寬帶無線通信系統應用的技術。為了減少高數據率OFDM系統中各信道間影響帶來的失真,引入循環前綴(CP)來消除碼間干擾(ISI)。它將一個IFFT包的最后部分復制到OFDM符號序列的前端。注意,CP的長度必須長于色散信道的長度以徹底消除ISI。在發射器中,OFDM調制包括快速傅立葉逆變換(IFFT)運算和CP的插入。而在OFDM接收器中,CP在數據包送往FFT解調前被移除。新一代的無線系統以高動態配置為標志,其中CP的長度隨著傳輸模式,幀結構(見圖1、2)以及更高級的協議而改變。例如,3GPP LTE中的CP配置每一個時隙

圖1:3GPP LTE下的幀結構1,可用于TDD、FDD系統。

圖2:3GPP LTE下的幀結構2,可用于TDD系統。
OFDM調制的實現
下面將討論如何實現OFDM調制及解調中循環前綴的插入與消除。
FFT與FFT反變換:在OFDM調制中最關鍵的運算就是IFFT,相類似,OFDM解調的核心為FFT。寬帶系統中的高FFT吞吐率是至關重要的,尤其是在FFT被多路數據通道共享時。
在WiMAX以及3GPP LTE這類現代可擴展無線系統中,在運行中可重新配置的能力同樣成為系統要求的一個重要指標。可變流模式下的FFT MegaCore函數瞄準的是可重新配置的無線通訊,是設計OFDM系統時的一個很好選擇。
FFT的MegaCore函數被設定為可變流模式,它允許FFT的大小和方向逐包改變。它還采用了存儲效率模式——這是FFT核的唯一模式,直接從FFT的蝶形引擎中輸出位反轉符號。可以在FFT核之外結合帶有循環前綴插入的位反轉。這樣,整個OFDM調制可以節省出一個單緩沖器。
FFT模塊復用:為了減少邏輯門數,FFT模塊通常采用比其他基帶模塊更快的時鐘頻率并復用。FFT模塊可以被不同的源共享,譬如,多路天線、時分雙工(TDD)復用中的發射與接收,以及頻分雙工(FDD)系統。FFT模塊也可以與其他功能模塊共享,如振幅因數減小或信道估計模塊。不過,這些復用取決于用戶特定的算法,而非通用設計。這篇文章將集中討論最常見的無線通訊系統應用:如MIMO技術、TDD和FDD通信。
TDD操作:在TDD基站中,發送和接收發生在不重疊的時隙中。FFT模塊可以很容易地在采用合適的信號多路復用技術的發射機和接收機之間共享。圖3顯示一個典型的單一天線TDD OFDM調制器。

圖3:單天線TDD系統中OFDM調制解調的共享。
在發射數據通道中,基帶數據被直接送入IFFT模塊。為在IFFT運算后插入CP并進行位反轉操作,可以采用很多種不同的結構。圖4為一個使用Altera Avalon Streaming接口(Avalon-ST)的高效實現方案。IFFT輸出的位反轉信號按次序被寫入一個單緩沖器,在那里,來自上一個OFDM符號的自然順序的樣本通過雙端口RAM同時被讀出。產生循環前綴時,通過Avalon-ST背壓流量控制使FFT核停轉。附加了循環前綴的連續OFDM符號再被送到數字上變頻器(DUC)來傳輸。

圖4:帶背壓的循環前綴插入的高效存儲實現方案。
而在接收通道中,經過數字下變頻器(DDC)后,循環前綴從OFDM符號中被移除。如圖3示,循環移除模塊找到OFDM符號序列的正確起始位置然后把數據送向FFT解調。FFT模塊后的單緩沖器只能作為接收通道中的位反轉緩沖器而沒有背壓流量控制。為了重復利用控制單元,圖3中CP的插入和移除模塊能夠區分數據包是否用來發射還是接收,并采取相應操作。在這種存儲器高效率執行中,FFT核工作頻率為符號速率。一個單緩沖器足以完成循環前綴的插入和位反轉。
FDD操作:在FDD中,發送和接收是同時進行的。FFT核的共享要求其工作頻率不低于基帶符號傳輸速率的兩倍。發射和接收數據通道各需要一個專用數據緩存。
圖5描述的是FDD系統下FFT復用的一種可能配置。數據發送和接收通道的操作類似于TDD系統,其區別在于這些操作是同時進行的。因此,pre-FFT數據必須被緩存且把頻率提高到快時鐘頻率。用一個單緩沖器就足以改變速率,因為緩沖器的寫時鐘頻率總是低于或等于讀時鐘頻率。

圖5:單天線中OFDM調制解調的FFT核共享。
在當前的數據包以低時鐘速率被寫入緩沖器的時候,上一個包中的數據以高時鐘率被讀出。當讀寫操作在同一存儲位置時,需要配置雙端口RAM來輸出舊存儲內容。FFT處理后,高速率數據經過雙端RAM后被還原到OFDM的發送速率。這個post-FFT存儲緩沖器也作為一個位反轉緩沖器。由于速率從高到低的改變,如果需要連續碼流輸出,就需要一個雙緩沖器,即當一個FFT包被寫入緩沖器時,上一個包中的數據從另一個緩沖器被讀出。
MIMO結構設置
多天線結構是現代無線系統中的強制性需求,這些系統包括WLAN,WiMAX和3GPP LTE系統。在多輸入輸出(MIMO)系統中進行OFDM調制的一個很直接的操作就是復制數據通道,包括用于每一根天線的FFT核。
一種資源更友好的解決方案是共享每條天線的FFT核。為實現MIMO中的FFT復用,FFT核的頻率至少要比基帶數據傳輸速率快n倍,這里的n為天線的根數。當結合MIMO、TDD和FDD時,同一個FFT核能在兩維上被共享,代價是需要pre-FFT數據緩沖。
圖6描述的是TDD模式下一種雙天線MIMO發射器的基本配置。FFT核被兩條天線以及發送和接收器復用。循環前綴的插入和移除控制單元必須能夠用于發射和接收。由于時鐘頻率的差異,每根天線的post-FFT數據處理需要一個雙緩沖器。

圖6:雙天線MIMO TDD系統中OFDM調制解調的FFT核共享。
OFDM調制實例
下面的OFDM調制和解調在Altera Stratix III FPGA上進行,FFT和存儲緩沖器使用MegaCore函數。這個例子打算用于采用FFT復用的系統,為了實現共享,這里,FFT核的時鐘率要比基帶信號快很多。該設計旨在實現可重配置結構的OFDM系統,它的FFT size和循環前綴的大小在執行中可變。Pre-FFT數據通過一個單緩沖器改變速率,Pre-FFT位反轉數據通過一對緩沖器改變速率和次序。所有的控制模塊支持TDD操作并被發射器和接收器共享。該應用實例可以很容易擴展到MIMO、TDD或者兩者結合的系統中,例如圖6中的系統以及圖5介紹的FDD系統。
功能描述:這個設計實例包含兩部分:OFDM調制和OFDM解調。前者包含IFFT和循環前綴的位反轉插入,后者包含循環前綴的移除模塊和改變數據速率的緩沖器。圖7為這兩者的高級集成。你可以把它看作是圖3中的單天線TDD系統的一種擴展。附加的pre-FFT緩沖器使設計更容易地擴展到具有FFT復用的MIMO或FDD系統。

圖7:OFDM調制解調設計架構舉例。
Post-FFT處理:OFDM調制過程中的CP插入包含4個功能子模塊:
1. 使用雙時鐘雙端口RAM的雙緩沖器
2. 位反轉的存儲寫模塊
3. 循環前綴插入的內存讀取模塊
4. 時鐘同步模塊
在發射數據通道中,位反轉的IFFT輸出數據在循環前綴插入模塊被讀入。一個控制單元分析數據地址并把它寫入相應的存儲單元。在一個完整的IFFT數據包被寫入后,與循環前綴相應的最后幾個樣本以自然順序讀出。與此同時,如果有容量,來自下一個IFFT包的數據會被寫入另一個緩沖器。如果兩個緩沖器都有數據需要讀取,會有一個延遲信號經過Avalon Streaming接口背壓送到IFFT核。經過OFDM調制后的數據通常是連續的。而其后的模塊,如IF調制解調器和天線,不應該施加背壓。
在接收數據通道中,post-FFT處理限制了位反轉和速率改變。位反轉的FFT輸出數據會被寫入到正確的內存地址,就像之前所做的一樣。一旦一個完整的數據包被寫入了緩沖器,它將會按正常順序依次讀出。要特別注意避免過度的背壓。由于讀時鐘頻率通常慢于寫時鐘,故需要一個雙緩沖器。圖8講述了post-FFT的數據處理。控制信號指明兩個時鐘域的緩存器狀態,并通過同步邏輯進行同步。

圖8:循環前綴插入操作前后的數據包比較。
如前面所討論,如果FFT為了資源共享采用不同速率的時鐘,則需要pre-FFT數據緩沖器。在接收通道上,每當輸入數據開始寫入單緩沖器時,循環前綴移除模塊開始記數。當整個數據包都被寫入這個單緩沖器時,記數值開始從0地址被讀出。
對于固定的FFT size,由于讀時鐘頻率并不比寫時鐘慢,用一個單緩沖器就夠了。但如果FFT size是變化的,一個單緩沖器恐怕就不夠了。舉個特殊的例子,假設兩個時鐘工作在同一頻率。在這種情況下,當新的數據被寫入內存,上一個數據包中的數據會從同一個存儲地址被讀出。如果上一個數據包的FFT/IFFT size更大,那么當前包的寫操作會早在上一個數據包讀操作完成前結束。這樣的話,為了阻止寫入過多的數據,就必須延遲上行數據流模塊的運行直到上一個大數據包的讀操作完成。
所幸的是,這種背壓只會在FFT size由大變小時才會被施加。在實際的系統中,FFT size不太可能頻繁的改變。如果它只在幀邊界改變,由于幀符號之間是靜止區,就永遠不會施加背壓。此外,為了避免使用背壓,讀信號和FFT核可以采用更高速率的時鐘,這樣讀操作會在寫操作之前完成。所需的時鐘頻率取決于最壞情況下FFT size的變化比。舉個極端的例子,如果FFT size從2048減到128,那么讀時鐘的頻率至少需要比寫時鐘快16倍。
在發射數據通道上,CP移除子模快只是將輸入數據按次序寫入單緩沖器。同樣的數據以不同的速率被讀出。圖9講述了pre-FFT的數據操作。在接收通道上,數據通過天線進入OFDM解調器,其后通常還接有IF調制解調器。這樣,接收模式下的pre-FFT模塊不會再對上行數據流模塊施加背壓。對于TDD操作,在pre-FFT數據緩沖時,可以復用post-FFT雙端口RAM實現位反轉,因為這些操作在時間上是錯開的。

圖9:循環前綴移除操作前后的數據包比較。
時鐘方案:該設計中采用兩個時鐘域,clk_f和clk_s。FFT核運行在快時鐘clk_f上。當時鐘clk_f比clk_s快時,兩個時鐘域將會存在異步。握手信號將會被插入來同步域間的控制信號。盡管在實際系統中時鐘clk_f的頻率通常為clk_s頻率的幾個整數倍,但在這個設計中,兩者頻率也可以相同。這里,兩個時鐘必須同步。由于單緩沖器存儲深度的限制,如果兩個時鐘同步而只是速率不同,就必須去掉解調器中的時鐘同步模塊。不過在實際系統中不需要考慮這一點,因為如果FFT核沒有被復用就沒必要使用pre-FFT緩沖器了。
接口和I/O端口:該設計實例使用了數據傳輸控制的Avalon Streaming協議。為了支持大小可變的FFT size、循環前綴,以及FFT方向運行時間(run time)的變化,必須對這些run time信號進行緩沖并把它們與輸出數據數據包開始(SOP)信號對齊。
該實例中也通過Avalon Stream信號sink_ready(輸入準備好信號)和source_ready(輸出準備好信號)來支持背壓。循環前綴插入模塊中輸入準備好延遲選0和輸出準備好延遲選44。循環前綴移除模塊的輸入準備好延遲選0。不過,因為輸出數據取自存儲器,后面的緩沖器讀取子模塊的輸出準備好延遲選2。由于FFT核為延遲0,為了實現與FFT核的連接,需要在在緩沖讀模塊與FFT核之間插入一個延遲適配器。延遲適配器用延遲2接收輸入數據,然后用延遲0輸出數據。適配器也支持背壓并把可重配置的循環前綴的大小和FFT的方向信號與輸出數據包對齊。
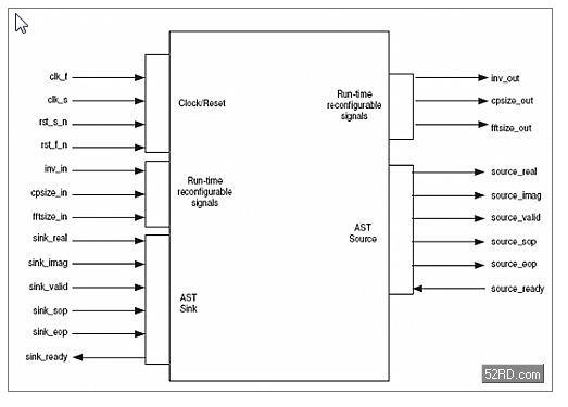
調制解調的輸入輸出信號是有符號的定點格式但位寬度是可配置的。在可變流模式中,IFFT核的輸出數據具有基于最大IFFT size的滿分辨率。如果必要,可以在循環前綴插入模塊中切斷數據序列,也可以設置位寬參數。圖10所示為OFDM調制解調模塊的I/O端口。

圖10:OFDM調制解調模塊的I/O接口。