RFID讀寫器發送電路原理設計
作者:RFID世界網 收編
來源:現代物流網
日期:2009-04-01 09:56:48
摘要:無線電規范對讀寫器發射頻譜的要求十分嚴格。另外,協議要求的發送的調制方式、調制深度等決定了讀寫器發送電路的架構。
1. 讀寫器發送電路的架構
無線電規范對讀寫器發射頻譜的要求十分嚴格。另外,協議要求的發送的調制方式、調制深度等決定了讀寫器發送電路的架構。
圖1是用于幅度調制的發射電路架構,包括本地振蕩(LO)、可變增益放大器(VGA)、功率放大器(PA)以及天線(Anta),其中LO提供了發射電路的載波頻率,輸入數據通過VGA來調制發射載波,從而產生幅度調制信號。PA則把輸出功率進行放大,然后通過天線把信號發送出去。這種發射電路的結構比較簡單,采用的硬件比較少。
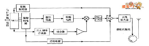
根據ISO18000-6標準規范,設計RFID讀寫器發送設各的系統方案如圖3所示。
控制單元:由MCU和編碼電路構成。控制單元擔負著以下任務:
(1)與應用系統軟件PC端進行通信并執行應用系統軟件發來的命令。
(2)控制與電子標簽的通信過程。
(3)信號的編碼與解碼。
(4)執行反碰撞算法。
(5)對電子標簽與讀寫器之間要傳送的數據進行加密和解密。
(6)進行讀寫器和電子標簽之間的身份驗證。為了完成這些復雜的任務以及后續的信號處理,MCU擬采用ARM7系列32位微處理器。
射頻接口:完成對編碼信號的調制、濾波、放大。
在RFID讀寫器中,發送設備不是獨立的,而是與接收設備配合工作的。環形器的作用是實現信號發送與接收的時分復用。
915MHz REID讀寫器發送設各的工作過程如下。
(1)MCU微控制器接收計算機發來的操作命令,啟動應用程序,將相應的操作命令發送到編解碼電路。
(2)編碼電路根據MCU微控制器傳來的操作命令進行編碼,形成基帶信號送到整形電路和限幅電路進行處理,處理后的信號送往混頻器(上變頻)。
(3)混頻器將編碼電路送來的基帶信號與本振信號混頻,進行ASk調制。
(4)調制信號經帶通濾波器濾波,再經功率放大器放大,再送往天線放大器放大,形成最終的發射信號。
(5)環形器將天線放大器電路傳來的功率信號送至天線,發給電子標簽。
其中,頻率合成器產生的本振信號的頻率控制、調制深度設定、功率放大器增益控制均由MCU微控制器根據通信協議以及系統工作條件等因素完成。
無線電規范對讀寫器發射頻譜的要求十分嚴格。另外,協議要求的發送的調制方式、調制深度等決定了讀寫器發送電路的架構。
圖1是用于幅度調制的發射電路架構,包括本地振蕩(LO)、可變增益放大器(VGA)、功率放大器(PA)以及天線(Anta),其中LO提供了發射電路的載波頻率,輸入數據通過VGA來調制發射載波,從而產生幅度調制信號。PA則把輸出功率進行放大,然后通過天線把信號發送出去。這種發射電路的結構比較簡單,采用的硬件比較少。

圖1幅度調制的發射電路架構

圖2 幅度調制發射機架構
根據ISO18000-6標準規范,設計RFID讀寫器發送設各的系統方案如圖3所示。

圖3 915MHz RFID讀寫器發送設備系統結構
控制單元:由MCU和編碼電路構成。控制單元擔負著以下任務:
(1)與應用系統軟件PC端進行通信并執行應用系統軟件發來的命令。
(2)控制與電子標簽的通信過程。
(3)信號的編碼與解碼。
(4)執行反碰撞算法。
(5)對電子標簽與讀寫器之間要傳送的數據進行加密和解密。
(6)進行讀寫器和電子標簽之間的身份驗證。為了完成這些復雜的任務以及后續的信號處理,MCU擬采用ARM7系列32位微處理器。
射頻接口:完成對編碼信號的調制、濾波、放大。
在RFID讀寫器中,發送設備不是獨立的,而是與接收設備配合工作的。環形器的作用是實現信號發送與接收的時分復用。
915MHz REID讀寫器發送設各的工作過程如下。
(1)MCU微控制器接收計算機發來的操作命令,啟動應用程序,將相應的操作命令發送到編解碼電路。
(2)編碼電路根據MCU微控制器傳來的操作命令進行編碼,形成基帶信號送到整形電路和限幅電路進行處理,處理后的信號送往混頻器(上變頻)。
(3)混頻器將編碼電路送來的基帶信號與本振信號混頻,進行ASk調制。
(4)調制信號經帶通濾波器濾波,再經功率放大器放大,再送往天線放大器放大,形成最終的發射信號。
(5)環形器將天線放大器電路傳來的功率信號送至天線,發給電子標簽。
其中,頻率合成器產生的本振信號的頻率控制、調制深度設定、功率放大器增益控制均由MCU微控制器根據通信協議以及系統工作條件等因素完成。