RFID系統相位噪聲分析
在本振中設定一組相位噪聲,然后用諧波平衡分析的方法進行仿真,在輸出端觀察相位噪聲的情況,同時也可以得到系統的頻譜特性。
1.分析工具選擇及其參數設置
(1)在元件模型列表窗口中找到Sources-Freq Domain項目,插入OSCwPhNoise,作為本振源。設定Freq=915MHz,修改PhaseNoise list,如圖1所示。OSCwPhNoise已經自帶了50Ω的電阻,這和V_1Tone加50Ω的電阻功能類似,就是多了相位噪聲。

圖1 相位噪聲源OSCwPhNoise的設定
(2)在Simulation-HB項目中選擇HB noise controller,插入電路圖。Freq tab頻率標簽中設定Sweep Type為log,范圍從10Hz到10kHz,步長為5。在Nodes tab標簽中單擊Pos Node下拉框,選擇vout節點,單擊Add按鈕。在PhaseNoise標簽中選擇相位噪聲類型(Phase NoiseType)為Phase Noise spectrum,設定載頻carnet Frequency為915MHz。這是由LO引入的相位噪聲中的中頻頻率。參數修改如圖2所示,同時在顯示標簽Display tab中把項目顯示在原理圖上,并做出相應的修改。

圖2 HB noise controller 的參數設定
注意:Noise controller組件與HB諧波模擬一起使用,便于將模擬控制和噪聲測量分開。它可獨立于HB simulation controller,能夠很方便地進行所有噪聲的測量,可以使用多個HBno1se controller同時進行不同噪聲的測量,在這種情況下只需要一個FIB simulation controller即可。
(3)在原理圖中插入FIB模擬控制器。把缺省的頻率值改為915MHz,單擊Apply按鈕。然后增加中頻頻率4MHz,單擊Apply按鈕。
在NoiseCon標簽中選擇NoiseCons,然后使用Edit按鈕選擇NC1為您設定的NoiseCon實例名稱,單擊Add和Apply按鈕。在顯示(Display)標簽的HB Display標簽中選中如圖3所示的最終參數設定項目于原理圖上。

圖3 FIB simulation controller參數設定
完整的原理圖如圖4所示。

圖4 相位噪聲分析仿真原理圖(以TypeA為例)
2.仿真結果
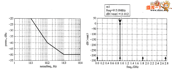
完成全部設置后運行仿真。在數據顯示窗口中把vout_phmx顯示出來,如圖5所示,可以看到相位噪聲在發射機輸出端的分布情況,同時也可以得到輸出信號的頻譜特性。

圖5 相位噪聲分析的仿真輸出